31+ Bobcat Brushcat Parts Diagram
Shipping Cost is 299 to the lower 48 states to a Commercial Address 256-759-2000 This is a Bobcat brand 60 Brushcat Rotary Cutter Attachment for a skid steer loader. Web Bush Hog 12615 - Lot GP5029 Dec 31 2020 Auction - Agricultural hog bush parts diagram rotary cutter repair manual mount side.
Brush Cutter Parts Skid Steer Attachments Implements I Dig Texas
Call 877-530-7720 to.

Bunton Bobcat Ryan M54 16 All 54 Midsize 16hp Parts Diagram For M54 Cutter Deck Spindles And Blades
Bobcat 60 72 90 Inch Brushcat Rotary Cutter Service Manual
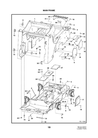
Bobcat A300 B Skid Steer Loader Parts Catalogue Manual Sn 5235 11001
Bobcat Mower Skid Steer Rotary Cutter Brush Cat By Bobcat
Parts Books Diamond Mowers
Bobcat Parts Catalog Repair Manual Download Autopartscatalogue
Bobcat Parts Catalog Repair Manual Download Autopartscatalogue
Amazon Com Aftermarket Bobcat Brushcat Stumpjumper Fits 60 Cut Mowers Code 6719729 W Bolts Patio Lawn Garden
Brush Cutter
Catalog
Bobcat Brushcat Rotary Cutter 60 Inch 90 Inch Operators Manual Sps Parts
Bobcat Brushcat Rotary Cutter Owner Operator Maintenance Manual Sn467000101 Up Ebay
Manuals Operators Service Maintenance Parts Bobcat Company
Bobcat Parts Catalog Repair Manual Download Autopartscatalogue
Pro Works 72 Direct Drive 3 Blade Brush Cutter Attachment Fits Skid Steer Quick Attach Skid Steer Attachment Depot
Bobcat Rotary Cutter 66 66hf 72 72hf 80 Service Manual
Bunton Bobcat Ryan 5024 22 01 Brc 24 Gxv390 Honda Brush Cutter Parts Diagram For Drive Assembly